Електронний архів Полтавського університету економіки і торгівлі >
Навчально-науковий інститут денної освіти >
Кафедра готельно-ресторанної та курортної справи >
Патенти (ННІДО ГРКС) >

Пожалуйста, используйте этот идентификатор, чтобы цитировать или ссылаться на этот ресурс: http://dspace.puet.edu.ua/handle/123456789/3646

Название: Нагрівне автодороджнє та аеродромне покриття
Авторы: Володько, Ольга Василівна
Піскунов, Вадим Георгійович
Демчук, Олег Миколайович
Порхунов, Олександр Іванович
Ключевые слова: конструювання нагрівного покриття
пружна основа
фіброелектробетон
тепловий розрахунок
Дата публикации: 10-Июн-2010
Издатель: ДП "Український інститут промислової власності"
Библиографическое описание: Патент на корисну модель № 50381, МПК Е01Н5/00, Е01С11/24, Е01С5/00, В64F1/00. Нагрівне автодорожнє та аеродромне покриття / Піскунов В.Г., Володько О.В., Демчук О.М., Порхунов О.І.; заявник та власник Національний транспортний університет. – № u200911553; заявл. 13.11.2009; опубл. 10.06.10, Бюл. № 11.
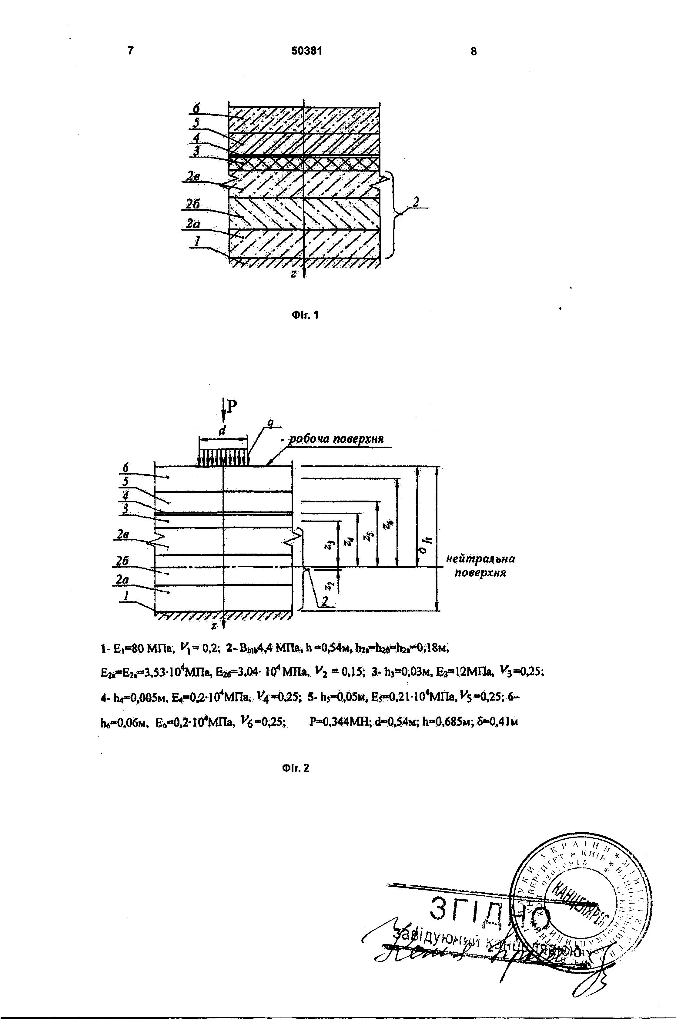
Аннотация: Відомі на сьогоднішній день нагрівні конструкції покриттів досить складні, мають низку технічних та економічних недоліків.Розроблена конструкція нагрівного дорожнього та аеродромного покриттів з використанням шару монолітного фіброелектробетону. Досліджений їх термонапружений стан та міцність.
Сведения о поддержке: Робота виконана в Національному транспортному університеті
Описание: У патенті на корисну модель наведено формулу, реферат та креслення конструкцій нагрівного покриття.
URI: http://dspace.puet.edu.ua/handle/123456789/3646
Располагается в коллекциях:Патенти (ННІДО ГРКС)

Файлы этого ресурса:

Файл Описание РазмерФормат
17.jpgформула корисної моделі459,99 kBJPEGЭскиз
Просмотреть/Открыть
18.jpgопис до патенту на корисну модель1,16 MBJPEGЭскиз
Просмотреть/Открыть
19.jpgопис до патенту на корисну модель1,65 MBJPEGЭскиз
Просмотреть/Открыть
20.jpgТаблиця залежності температур нагрівної системи від теплового потоку, література1,29 MBJPEGЭскиз
Просмотреть/Открыть
21.jpgкреслення561,29 kBJPEGЭскиз
Просмотреть/Открыть
22.jpgкреслення379,96 kBJPEGЭскиз
Просмотреть/Открыть

Все ресурсы в архиве электронных ресурсов защищены авторским правом, все права сохранены.

 

Valid XHTML 1.0! DSpace Software Copyright © 2002-2005 MIT and Hewlett-Packard - Обратная связь